介紹
干細胞是一群未分化的細胞,具有自我更新和重建功能組織的獨特能力。它們主要根據分化潛力、起源和譜系進展進行分類。
根據其效力,干細胞可以是全能的、多能的、專能的、寡能的和單能的。干細胞存在于胚胎和成體細胞中。胚胎干細胞 (ESC) 和誘導多能干細胞 (iPSC) 是多能干細胞的最佳例子,而成體多能干細胞的例子有造血干細胞 (HSC)、間充質干細胞 (MSC)、神經干細胞(NSC)和內皮干/祖細胞(EPC)(圖1a)。所有這些干細胞亞型都已被廣泛試驗用于治療人類疾病。

外泌體的產生和純化(MSC和NSC用作多能干細胞的例子)。b天然外泌體的含量。c外泌體修飾。(BM骨髓、DC樹突狀細胞、IAC免疫親和層析、iPSC誘導多能干細胞、MHC主要組織相容性復合物、miRNA microRNA、MSC間充質干細胞、MVB多泡體、NSC神經干細胞、SEC尺寸排阻層析、UC臍帶)
干細胞源性外泌體的臨床應用
干細胞療法作為再生醫學的一種方式,引起了極大的關注,因為它為患有以前無法治愈的疾病的患者提供了新的選擇。隨后,數千項相關臨床試驗被注冊,涵蓋廣泛的醫學問題,如肌肉骨骼和神經系統疾病、免疫疾病、血液功能障礙和退行性疾病。然而,一些試驗未能在臨床中顯示出任何益處。這可能是由于干細胞療法不可避免的局限性,例如輸注毒性、免疫原性、致瘤潛力和倫理問題。外泌體由包括干細胞在內的幾乎所有細胞類型分泌(圖1a),已被認為是干細胞治療的更安全、更通用的替代方案。
外泌體是納米級、球形、脂質雙層單膜細胞外囊泡,充當細胞間信使。外泌體被認為是其親代細胞的微型版本,部分原因是來自某種細胞類型的外泌體提供了細胞特異性或獨特的生物分子組。此外,還發現干細胞通過其可溶性分泌體(包括外泌體)以旁分泌方式發揮作用。
換句話說,干細胞衍生的外泌體 (SC-Exo) 從其親本細胞繼承了類似的治療作用,例如抗炎、免疫調節和組織再生。總的來說,干細胞來源的外泌體是干細胞治療的有效替代品,且沒有表現出其細胞對應物所存在的缺點(表1)。

在臨床應用之前,必須在生產、純化和修飾方面制備和優化外泌體(第2.3和2.4節)。近年來,發表了大量分析外泌體治療上游措施的醫學評論。然而,一些研究途徑仍然沒有得到充分研究:特別是缺乏致力于下游臨床應用的系統研究,特別是從外科角度來看。無論是由于疾病還是外科醫生的手術刀而受損的組織,都會通過炎癥和再生動力學做出反應,使手術成為干細胞衍生的外泌體治療的完美場所。干細胞衍生的外泌體從其親本細胞繼承了類似的治療作用,例如組織再生、抗炎和免疫調節。
在這項工作中,我們將剖析過去五年的相關出版物,以呈現全面的、最新的、針對特定專業和疾病的綜述(圖2)。我們的目標是彌合外科醫生、納米醫學從業者和干細胞研究人員之間目前存在的差距。

外泌體的治療效果是通過疾病特異性組織反應、組織特異性細胞改變和細胞特異性分子信號通路分層轉化而來的。
外泌體和外泌體治療的一般背景
外泌體的生物發生、組成和攝取
外泌體在大小、含量和產生機制方面不同于其他類型的初級細胞外囊泡(例如凋亡小體和微泡)。最普遍接受的外泌體形成機制,即內體途徑,如下(圖1a)。初始內體是通過細胞膜內陷產生的,在此期間生物活性物質開始在早期分選內體中積累。晚期分選內體在第二次壓痕后形成多泡體(MVB)。最后,MVB與細胞膜融合,將攜帶的外泌體釋放到外部。外泌體生物發生的非內體途徑,例如質膜出芽,也有報道。
正如三大外泌體數據庫(即ExoCarta、Vesiclepedia和EVpedia)所總結的那樣,外泌體含有眾多分子,包括蛋白質、糖類、脂類、核酸、代謝物和其他生物活性物質(圖1b)。一方面,外泌體由復雜的蛋白質網絡組成,包括外部蛋白質(如四泛蛋白、抗原遞呈復合物和粘附分子)和內部蛋白質(如熱休克蛋白、ESC)、另一方面,微小核糖核酸(mRNA)是人類外泌體核酸中含量最高的物質,可通過外泌體介導的細胞通訊參與造血、外分泌以及神經和血管再生。
一旦外泌體到達受體細胞,就會有多種攝取機制,所有這些都可以分為膜融合、受體相互作用和內化(圖1b)。最后,外泌體貨物被釋放到細胞質中,該過程取決于外泌體的來源、貨物的性質以及受體細胞的代謝狀態。從外泌體生物發生到攝取和細胞內信號傳導的整個生命周期可以使用熒光、發光和放射性技術進行跟蹤。
外泌體的來源和分類
根據外泌體是否經過人工修飾,它們大致分為天然外泌體和工程外泌體(第2.4節)。根據來源物種的不同,外泌體分為動物源性外泌體和植物源性外泌體。
目前,外泌體主要根據其親代細胞的類型進行分類。幾乎所有類型的人類細胞都可以產生外泌體。這些包括但不限于巨噬細胞、樹突細胞(DC)、血小板、干細胞、甚至腫瘤細胞 (圖1a)。
例如,巨噬細胞衍生的外泌體有助于疾病進展(例如糖尿病、動脈粥樣硬化和心力衰竭)和疾病治療(例如皮膚傷口、炎癥性腸病以及真菌和病毒感染)。然而,它們在抑制和促進腫瘤方面似乎發揮著矛盾的作用。與DC一樣,DC衍生的外泌體 (Dex) 也可以通過其表面蛋白(例如主要組織相容性復合物 (MHC))與免疫細胞(例如T細胞、B細胞和NK細胞)相互作用。一些臨床前和臨床試驗已經證明了基于 Dex 的癌癥免疫療法的有效性和安全性。此外,腫瘤源性外泌體 (Tex) 不僅參與腫瘤增殖、侵襲、轉移和免疫,還可以作為癌癥診斷和治療的生物標志物。最近,Tex已被用作抗腫瘤藥物和DC疫苗接種的抗原呈遞物,成為一種有前途的無細胞癌癥免疫療法。
最后,干細胞來源的外泌體的臨床應用將在以下部分詳細討論。
外泌體存在于所有體液中,例如血液、唾液、尿液、血漿、眼淚、精液、羊水,甚至母乳。體液來源的外泌體是疾病生物標志物的高度穩定的儲存庫,有助于在癌癥、心血管疾病和圍產期疾病等各種臨床環境中進行液體活檢。然而,每種類型體液的共存內容和可用性可能會給外泌體分離帶來挑戰。
外泌體的生產、分離和純化
阻礙基于外泌體的療法進入臨床實踐的主要障礙之一是外泌體的產量和效率較低。例如,在實驗室環境中,從1ml培養基中只能收獲不到1μg的外泌體蛋白。擴大外泌體產量的方法有多種,分為生化策略(例如 LPS、BMP-2、HIF-1α、IFN-γ和TNF-α)、物理策略(缺氧、熱應激和饑餓) 、機械策略(剪切應力和 3D 培養)和儀器策略(中空纖維生物反應器和攪拌槽生物反應器)。
外泌體在大小、含量、表面標記和來源方面具有異質性,這使得它們的分離變得困難。目前可用的外泌體分離和純化技術基于其大小、表面電荷或免疫親和力(圖1a)。然而,不存在“一刀切”的方法,因為這些技術都有優點和缺點。
例如,超速離心被認為是外泌體提取的金標準。盡管它需要最少的試劑和專業知識,但耗時、成本高、效率低以及脂蛋白共分離限制了其大規模使用。免疫親和層析是一種基于抗體和配體特異性結合的分離技術。它快速且具有高純度、特異性和產量。然而,所使用的抗原/蛋白質偶聯需要在外泌體表面表達。
基于尺寸的分離技術主要指超濾和尺寸排阻色譜,這兩種技術都快速且適合大規模應用。但毛孔堵塞、外泌體丟失、純度低等問題使得該方法難以普及。雖然沒有一種技術是完美的,但將上述技術與其他技術(例如基于沉淀和基于微流體的技術)相結合可能是同時滿足外泌體分離和純化多種要求的解決方案。
外泌體的修飾
可以對外泌體進行生化修飾,以擴大、改變或改善其治療效果。外泌體的修飾分為內部策略(例如載藥)和外部策略(例如表面修飾)。一方面,外泌體由于其穩定性、非免疫原性和靶向受體細胞等優勢,可能成為遞送藥物、核酸和疫苗的理想治療載體。有多種貨物裝載技術,包括生產前裝載方法(例如轉染、共孵育和電穿孔)和生產后裝載方法(例如凍融循環、孵育、超聲處理、擠壓和低滲透析),具體取決于關于它們是否在外泌體生物發生之前或之后應用(圖1c)。
另一方面,外泌體表面修飾的例子有外泌體膜或親本細胞的基因工程、靶向配體的化學連接、靜電相互作用和磁性納米顆粒技術。表面修飾的主要目的是選擇性地將外泌體遞送至靶細胞以進行精準治療。
外泌體的表征和驗證
外泌體在治療應用之前需要進行表征和驗證。目前用于外泌體表征的方法主要集中于外泌體的大小、形態和貨物概況。面向尺寸的驗證包括納米顆粒跟蹤分析 (NTA)、動態光散射 (DLS) 和可調電阻脈沖傳感 (TRPS),而面向形態的分析包括掃描電子顯微鏡 (SEM) 和透射電子顯微鏡 (TEM)。此外,貨物分析進一步細分為蛋白質組學、脂質組學和基因組分析,包括蛋白質印跡、ELISA、流式細胞術、質譜和PCR。由于上述每種表征方法都有優點和缺點,因此結合三個不同方面的分析(例如TEM、NTA和蛋白質印跡法)來鑒定分離的外泌體是一種普遍的做法。
例如,基于顯微鏡的方法,如SEM和TEM,可以分別直接可視化表面形貌和內部結構。但TEM由于操作復雜、樣品制備繁瑣,不適合大量樣品的快速測量。NTA有助于快速檢測和實時外泌體觀察,同時具有比流式細胞術更高的分辨率。NTA的主要缺點是難以區分外泌體和污染的蛋白質。作為一項成熟的技術,蛋白質印跡可以定性和定量檢測外泌體蛋白生物標志物的表達,特別是來自細胞培養基的外泌體。然而,該方法耗時且不適合檢測生物體液中的外泌體。
外泌體的儲存
目前用于長期保存外泌體的保存方法主要包括冷凍保存、凍干和噴霧干燥。溫度和防凍劑是低溫保存的兩個最重要的因素。4℃儲存可能會削弱外泌體的生物活性并減少外泌體的蛋白質含量,而-80℃被認為是最佳溫度,對外泌體形態和含量的影響最小。非滲透性二糖防凍劑,尤其是海藻糖,是最佳選擇,因為它可以防止外泌體聚集和冷凍損傷。
經過冷凍干燥處理的熱敏材料,例如外泌體和疫苗,只需加水即可輕松儲存和重構。最近的一項研究表明,即使在室溫下保存,使用冷凍保護劑凍干也可以將外泌體蛋白和RNA的活性保留大約4周。
最后,與冷凍干燥相比,噴霧干燥是一個單步驟過程,從而減少了對昂貴設備和冗長的多步驟研磨的需求。然而,噴霧干燥的核心參數,如外泌體進料速率、霧化壓力和出口溫度,都會影響外泌體穩定性和貨物完整性。
干細胞外泌體的臨床應用
- 干細胞外泌體療法與骨科和創傷手術
- 干細胞外泌體療法與神經外科
- 干細胞外泌體療法與整形外科
- 干細胞外泌體療法與普通外科
- 干細胞外泌體療法與心胸外科
- 干細胞外泌體療法與泌尿外科和
- 干細胞外泌體療法與耳鼻喉科和頭頸外科
- 干細胞外泌體療法與眼科
- 干細胞外泌體療法與婦產科
外泌體療法從臨床前研究到臨床試驗
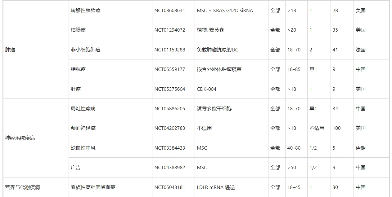
正如第3節至第11節所討論的,許多臨床前研究已經證實了MSC衍生的和NSC衍生的外泌體在治療跨越外科實踐亞專業的許多疾病方面的優勢。不僅限于干細胞來源的外泌體,許多臨床試驗已經證明外泌體具有雙重作用:生物標記物和治療劑。在ClinicalTrials.gov上使用“外泌體治療”、“外泌體治療”和“外泌體”作為關鍵詞進行搜索,生成了188條記錄。然而,其中只有60項(32%)與使用外泌體作為治療劑的介入研究直接相關(表5)。
其余的,特別是腫瘤學相關的試驗,大多使用外泌體作為生物標志物,例如疾病發病過程中的關鍵角色(例如NCT04288141,NCT04154332),診斷標志物和治療前的指導(例如NCT04629079,NCT03791073,NCT05451342,NCT03432806),監測指標治療效率的預測工具(例如,NCT05427227、NCT04499794、NCT04852653、NCT05370105、NCT03800121、NCT05370105、NCT05328089)和治療后的預后指標(例如,NCT06026735、NCT05705583、NCT05) 411445、NCT04167722、NCT05575622)。外泌體作為生物標志物的臨床應用已在其他綜述中進行了廣泛探討,因此在本綜述中不予討論。就60項外泌體治療臨床試驗的臨床特征而言(表5),有幾個亮點值得一提。





首先,所涵蓋的疾病范圍非常廣泛,包括外科疾病和內科疾病。其中包括第3至11節中討論的許多外科疾病,例如骨科疾病(NCT05060107中的膝骨關節炎、NCT04998058中的骨質流失和NCT04849429中的椎間盤退變)、神經外科疾病(NCT03384433中的缺血性中風和NCT04388982中的阿爾茨海默病) 、整形外科疾病(NCT02565264和NCT05475418中的皮膚傷口愈合)、普通外科疾病(NCT05871463中的肝硬化)、心胸疾病(NCT05669144中的心肌梗塞)、眼科疾病(NCT05413148中的視網膜色素變性)。
也就是說,一些臨床前研究還沒有發展到臨床試驗。這些包括但不限于用于骨折、脊髓損傷、創傷性腦損傷、急性肝損傷、和聽力損失的外泌體療法,這可能作為外泌體療法相關臨床試驗的未來方向。
其次,越來越多的臨床試驗集中在兩種疾病上,即COVID-19(16項試驗,占27%)和癌癥(5項試驗,8%)。MSC 衍生的外泌體可以通過修復作用和再生作用來控制COVID-19中的病毒感染和肺損傷。前者表現為阻斷病毒進入和復制以及抑制細胞因子風暴,而后者則表現為預防炎癥、清除液體和恢復肺通透性。此外,外泌體可以被設計成藥物(例如,CD24,一種有效的免疫調節劑)遞送平臺,甚至疫苗來對抗COVID-19。與用于COVID-19管理的MSC衍生的外泌體相比,用于癌癥治療的外泌體主要依賴于非干細胞和貨物工程。這部分是因為間充質干細胞衍生的外泌體對腫瘤發生和轉移的影響存在爭議。雖然MSC衍生的外泌體與腫瘤細胞之間的確切相互作用仍有爭議,但科學家們通過修飾外泌體貨物以遞送抗癌核酸和抗癌藥物,以及用于特定腫瘤靶向的外泌體膜,克服了一些障礙。
最后,在使用干細胞來源的外泌體進行疾病治療的40項臨床試驗中,38項(95%)使用MSC,2項(5%)使用iPSC作為外泌體的細胞來源。然而,這與第3節至第11節中討論的臨床前研究存在顯著差異。在臨床試驗中缺乏使用 NSC 衍生的外泌體可能部分是因為其親代細胞的供應限制。
目前,神經干細胞可以從三個來源獲得(圖1a):
- 1、從原代CNS組織(例如成人和胎兒大腦)中分離;
- 2、從多能干細胞(例如iPSC和ESC)分化;
- 3、將體細胞(例如成纖維細胞和血細胞)重編程為iNSC。最近的研究開發了成纖維細胞衍生的iNSC,為從NSC樣細胞獲取外泌體打開了新窗口。
這些iNSC-exo不僅可以在體外促進細胞存活和增殖,其效果不亞于NSC-exo,而且還可以增強缺血性中風后的恢復并減輕臨床前模型中的AD樣表型。因此,iNSC可能是在臨床試驗中生產臨床級外泌體的極好細胞來源。
總之,外泌體療法從臨床前研究到臨床試驗的進展非常迅速。然而,外泌體治療的臨床適應證不足和親本干細胞來源有限等問題仍有待解決。此外,一旦克服了生產規模擴大、遵守良好生產規范和監管框架方面的限制(表1), 干細胞衍生的外泌體療法將很快納入臨床實踐并在患者床邊服務。
結論和未來展望
最近,外泌體被視為干細胞療法的無細胞替代品。ESC、iPSC、HSC、MSC、NSC 和 EPC 衍生的外泌體特別令人感興趣,部分原因是其親本細胞的多能性。經過修飾或不修飾的生產和純化后,干細胞來源的外泌體在治療外科手術中遇到的多種疾病方面表現出了巨大的潛力。
例如骨科手術中的疾病(例如骨折、骨關節炎和脊髓損傷);神經外科(例如,缺血性中風、創傷性腦損傷和阿爾茨海默病);整形手術(例如傷口愈合);普通外科手術(例如急性肝損傷);心胸外科手術(例如心肌梗塞);泌尿科(例如慢性腎病);頭頸手術(例如感音神經性聽力損失);眼科(例如,獲得性視神經病變)和婦科(例如,原發性卵巢功能不全)。
從機制上講,干細胞來源的外泌體的多種治療作用是通過疾病特異性細胞和組織反應(例如組織再生、抗炎、抗細胞死亡、免疫調節和抗氧化應激)和組織特異性分子來實現的。信號通路(例如 Wnt/β-連環蛋白、PTEN/PI3K/Akt/HIF-1α、MAPK 和 JAK/STAT 通路)。總的來說,干細胞衍生的外泌體療法已被證明是外科領域干細胞療法的有效且多功能的替代品。
參考資料:Tan, F., Li, X., Wang, Z. et al. Clinical applications of stem cell-derived exosomes. Sig Transduct Target Ther 9, 17 (2024). https://doi.org/10.1038/s41392-023-01704-0
免責說明:本文僅用于傳播科普知識,分享行業觀點,不構成任何臨床診斷建議!杭吉干細胞所發布的信息不能替代醫生或藥劑師的專業建議。如有版權等疑問,請隨時聯系我。
掃碼添加微信